通過吞咽,可在人腸道內以螺旋方式行走的膠囊醫療微型機器人的研究有了突破性進展。我國科學家目前已研制出樣機,并在離體豬腸中取得良好的實驗效果。
體內介入檢查與治療具有安全、微創等優點,并迅速成為醫學工程領域的主流。人們研制出的微型消化道膠囊內窺鏡是利用消化道蠕動進行整個區域檢查,由內嵌CMOS微型攝像機以無線方式傳輸檢查圖像。但其行走緩慢,存在視覺盲區;錯過病變組織時,不能主動返程,使一些醫療作業無法完成。因此研制可吞咽并能通過體外無纜驅動控制的膠囊機器人十分必要。
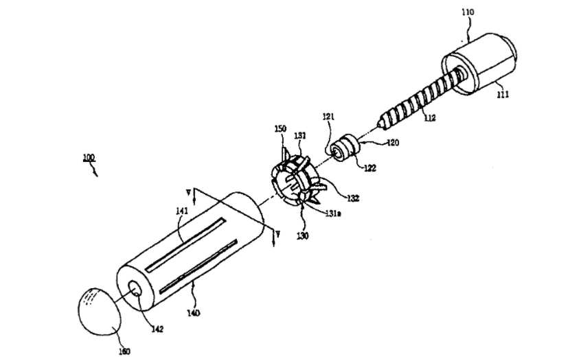
通過不斷地技術攻關,大連理工大學機械工程學院現代制造技術研究所副教授張永順等提出了外旋轉磁場驅動的一種基于新型驅動原理的變徑螺旋結構膠囊機器人樣機,在徑向間隙自補償和多楔形效應原理的作用下,顯著提高了流體動壓膜的壓力和在腸道內的驅動能力。實驗表明,該機器人可實現在豬腸道內垂直游動,提高了在腸道內的適應能力,為實用化奠定了基礎。
目前,該研究已經取得了突破性進展,并完成了微型化的研究,機器人達到可吞咽的外形尺寸,實驗效果良好;同時為了實用化,研究小組正在進行膠囊機器人在彎曲環境內驅動關鍵技術的研究。
該項目的最終目標是通過體外無纜控制,由機器人實現窺視、診斷、施藥、取樣等介入治療,有廣闊的應用前景,對醫學工程發展具有重要意義。
