內燃機車增壓器是機車的核心部件,增壓器在工作時,其轉子的轉速在30 000~40 000 r/min,而增壓器核心部件是其轉子部分,主要由主軸、輪盤葉片、軸承套、葉輪和主軸螺母(見圖1)等部分組成,因高溫、高轉速的工況,對其轉子部件的加工精度要求也非常高,其中主軸螺母是主軸和葉輪鎖緊定位的部件,緊固時其端面會受到很大壓力,如果端面相對于螺紋垂直度不好,就意味著緊固時主軸螺母端面和被聯接的葉輪面接觸不均勻,容易在主軸螺紋頭部形成附加彎矩,這對于主軸疲勞強度有很大影響,甚至會導致主軸螺紋“掉頭”的質量事故發生,在增壓器轉子高速旋轉中也會直接影響轉子的動平衡穩定性。因此,主軸螺母的設計圖樣對于其端面相對于螺紋的垂直度嚴格要求,因主軸螺母的螺紋形狀復雜特殊,螺紋又在主軸螺母的盲孔中,螺紋的檢測比較難,國外有專業的螺紋測量技術公司推出不少專業的螺紋測量儀,但能檢測盲孔內螺紋的裝置卻非常少,并且這些測量儀造價不菲,購置成本很高。
有一些通用的測量設備如三坐標測量儀、光學測量儀也有相關的螺紋測量功能,但都不夠專業且精度也不高。例如:三坐標測量儀按理論螺距沿螺旋槽取點建立軸線,但測球探不進溝槽內部,測量精度不高,檢測過程比較麻煩。光學測量機一般用于兩頭帶中心孔的軸類零件的檢測,對主軸螺母的內螺紋無法形成投影,也就無法檢測。

圖 1
機車增壓器主軸螺母盲孔螺紋垂直度檢測裝置如圖2所示,這種新型檢測裝置具有結構簡單、成本低、操作簡單、檢測效率高及檢測精度高的特點,解決了機車增壓器主軸螺母盲孔螺紋垂直度無法檢測的問題。
電化學方法乳液聚合甲基丙烯酸甲酯的制備和表征······································張劍秋 付凌霄 陳 龍 張勝佳 (6,925)


圖 2
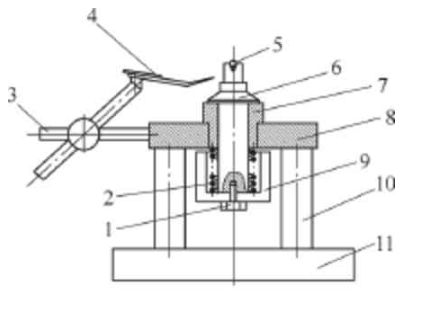
1.防松螺栓 2.壓簧 3.測表支架4.杠桿千分表 5.頂珠 6.旋轉軸 7.基套8.基座 9.鎖緊螺母 10.支撐柱11.底板 12.主軸螺母
該裝置使用方法是將主軸螺母擰緊到旋轉軸上端螺紋,利用頂珠頂到主軸螺母盲孔底面中心位置,保證主軸螺母的螺紋與檢測裝置旋轉軸螺紋保持自由鎖緊狀態,調整測表支架保證杠桿千分表的測針與主軸螺母的被測端面接觸,并使測針壓緊0.1~0.2mm,然后旋轉鎖緊螺母帶動旋轉軸轉動,其中壓簧保證了基套與旋轉軸的軸肩保持緊密接觸、軸向無竄動,此時旋轉360°,杠桿千分表所顯示的變化量就可以測量出主軸螺母端面跳動,由于主軸螺母端面是環帶,跳動近似等于垂直度,經計算驗證誤差小于0.005mm,可以直接作為主軸螺母的螺紋軸線與端面的垂直度使用。
檢測裝置部件加工注意事項如下:
計算出最鄰近指數,地理集中指數,基尼系數和不平衡指數,采用ArcGIS10.3空間分析工具的功能和Eexcel統計軟件分析了新疆A級旅游景區的空間分布的特征。
(1)基套的上端面與內孔保證垂直度0.005mm以內,表面粗糙度值Ra<0.8μm。
(2)旋轉軸的軸肩和外圓部位保證垂直度0.005mm以內,表面粗糙度值Ra<0.8μm,旋轉軸應采用雙頂尖磨削加工,并保留上端中心孔完好。
(3)頂珠選用8mm精度G10以上的鋼珠,檢測時頂珠放于旋轉軸上端中心孔內,保證頂珠高于旋轉軸上端面。
(4)基套與旋轉軸采用間隙配合,配合間隙保證在0.01~0.02mm。
采用直接在家具成品上測試時,要選取家具中的主要面層,要求可檢測面部位表面平整,無鼓泡、劃痕、褪色、皺皮等缺陷。
機車增壓器主軸盲孔螺母螺紋垂直度檢測裝置具有結構簡單、成本低、操作簡單、檢測效率高及檢測精度高的優點,利用頂珠頂到主軸螺母盲孔底面中心位置,保證主軸螺母的螺紋與檢測裝置旋轉軸螺紋保持自由鎖緊狀態,旋轉一周用千分表測量。該裝置解決了機車增壓器主軸螺母盲孔螺紋垂直度無法檢測的問題,有效降低了機車增壓器的故障率。