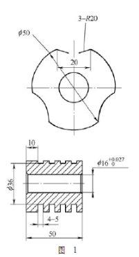
某產品零件軸套( 汽車尼龍齒輪中的鑲件),圓周分布3處R20mm圓弧,如圖1所示。該圓弧在尼龍齒輪工作時可防止軸套轉動,以往加工該圓弧多采用銑床,將零件夾在分度頭上,用φ 40mm立銑刀加工,分度時費時又費力,不僅效率低,還影響生產周期。為解決這一難題,設計了一套車床夾具,將銑圓弧加工改為車圓弧加工,效率提高4倍以上,滿足了生產急需的要求。
1. 車床夾具的結構及工作原理
車削圓弧使用的車床夾具如圖2所示,在圓形夾具體上分布4個定位銷,工件套在其上面。為防止車第一個圓弧時工件轉動,在工件上用鉆模鉆φ2.9(+0.1 - 0) mm工藝孔,如圖3所示,φ2.9(+0.1 - 0)mm工藝孔套在φ2.8(0 - -0.015)mm圓銷上,限制工件轉動,用帶肩螺母壓緊后車削工件上第一個圓弧,保證尺寸為φ40 (+0.1 - 0) mm。然后,松開帶肩螺母,旋轉工件,把已車過的圓弧與φ2.8(0 - -0.015) mm圓銷貼緊,如圖4所示,達到分度圓弧角度和車削時防止工件轉動的作用。擰緊螺母壓緊工件后,再車第二個圓弧,以此類推,這樣就完成了4個工件3處R20mm的車削過程。


2. 定位銷位置的確定
根據工件受切削力后繞定位銷逆時針旋轉的情況, 考慮φ2.9(+0.1 - 0) mm工藝孔要在后續車削圓弧時加工完成,為了不影響工件的最終外形且符合圖樣要求,并考慮圓弧的面積及工藝孔的大小等因素,最終綜合分析后,確定圓銷位置為(22±0.02)mm和(7±0.015)mm,如圖4所示。

3. 結語
該車床夾具不但解決了銑圓弧效率低的問題,而且解決了圓弧加工時的測量問題,還實現了多件裝夾、多件加工,大大提高了生產效率。經實踐證明,該夾具使用方便且性能穩定,受到操作人員的一致好評。