在機械加工過程中,夾具對加工質量、生產率和產品成本都有直接的影響。合理的夾具可以充分發揮現有設備的潛力,以便工人掌握復雜或精密零件的加工技術,在減輕繁重的體力勞動等方面起著巨大作用。下面是以一種擋板為例,制作的一套專用工裝。
(1)基礎板(見圖1)的選材與制造:選用Q235-AF材料制作基礎板,這種材料加工方便、成本不高且比較耐用。首先用普通銑床加工1塊460mm×300mm×50mm的長方板尺寸,然后用平面磨床進行磨削,厚度方向要求上、下兩面平行度保證在0.03mm以內,再用立式加工中心1次裝夾加工出各個定位基準面及定位銷孔,并保證各定位基準面的平行度在0.01mm以內。

圖1
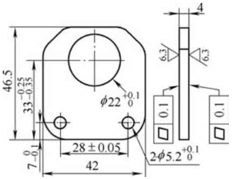
(2)定位基準的選擇:夾具定位基準要與工件的工藝基準相重合。工件是以工件圖(見圖2)中下側面做為工藝基準,但工件上、下兩端面都需要加工,故先加工一端面,然后換面采用已加工完成的端面作為底平面,用相鄰的一側面及工藝基準面的相對面作為定位基準,使用1個定位銷限制工件縱向運動,然后在工藝基準面加工1刀,以保證各個工件的尺寸都在公差范圍之內。
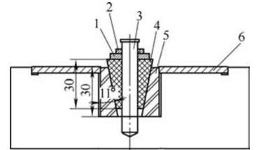
(3)夾緊裝置的選擇:因工件上、下兩端面都需要加工,不能采用壓板直接夾壓在工件上,故采用楔塊1(見圖3)、楔塊2(見圖4)配合螺栓夾緊工件。此夾緊方式既不干涉加工工件表面,又能保證工件夾緊合理有效。每1套夾緊裝置分別對應2個工件,這樣做不但節省材料、減小夾具面積及降低夾具的加工成本,還能減少工件的夾壓時間、提高工作效率。

圖2
(4)擋板夾具總裝示意圖(見圖5),這個夾具不僅1次裝夾數量多而且體積也不大,只需要立式加工中心一半工作臺的面積,這樣一來就算這批擋板還沒有全部加工完成,臨時有其它工件需要加工也不需要拆卸這個夾具,節省了拆卸夾具跟下次加工擋板的準備時間,為操作者減少了重復勞動,提高了工作效率。

圖3

圖4

圖5
1.墊片 2.M10螺母 3.螺桿4、5.楔塊 6.工件
首先將基礎板通過U形孔用螺桿和螺栓與立式加工中心工作臺相聯接,并保證基礎板加工完的定位基準面與工作臺X軸相平行,然后壓緊基礎板并將工件放入,再用楔塊把工件夾緊,并確定工件在夾具上的位置。利用自制夾具(見圖6),我們一次可裝夾加工20個工件,每2個工件1套夾緊裝置,加快夾壓工件速度,利用立式加工中心裝夾加工完成銑端面、1側面以及鉆銑端面上3個孔,相比之前使用組合夾具1次裝夾加工6個工件,每個工件1套夾緊裝置,不但效率大大提高,而且也不需要長期占用組合夾具資源。

圖6
在現代機械加工行業,我們想要高效率加工一批合格的零部件,不僅需要高精度的機床、鋒利耐用的刀具及各種各樣的通用或專用夾具,同時也需要合格的操作者。在零件的加工過程中,一個合格的操作者需要把復雜的零件簡單化,簡單的零件程序化。有時操作者在不影響零件精度的前提下,改動工藝或制作一些簡單、實用的小夾具,不但能提高零件的加工速度而且還能降低勞動強度,使操作者減少重復勞動繼而提高產品質量,降低生產成本。
參考文獻:
[1] 孟少農. 機械加工工藝手冊[M].北京:機械工業出版社,1996.