刀架及橫梁滑座的重力和切削時的進給力的反作用力直接作用在橫梁導軌上,刀架在向遠離立柱方向移動的過程中逐漸形成一個力臂越來越大的懸臂,刀架越重,切削力越大,行程越長,橫梁導軌直接承受的彎矩越大,橫梁變形越大,影響橫梁滑座水平移動的線性精度。而對于重型、大行程(水平行程)的單柱立式車床,這種變形影響就更為突出,因此提出一個切實可行的改進方案顯得尤為重要。
本文主要研究一種橫梁卸荷導軌。
傳統單柱移動式立式車床,采用與普通數控車床結構類似的橫梁結構,所有作用力直接作用在橫梁導軌上,橫梁導軌結構變形大,不利于橫梁精度的保持。改進的橫梁在原橫梁結構的基礎上增加了卸荷導軌和液壓驅動滾輪系統,由此導軌通過液壓驅動輪的作用,使刀架重量的作用點不集中作用在橫梁導軌上,而大部分作用力被分散在卸荷梁上,承擔刀架和橫梁滑座的大部分重量,由卸荷梁的彎曲變形代替了橫梁的變形。而橫梁承受的載荷基本不變,從而減少了橫梁的變形。使刀架的水平移動基本不影響橫梁的線性精度。橫梁滑座在橫梁上的移動,由傳統的單一滑動,改為滾滑復合式,更有利于減小摩阻損失,改善導軌油膜剛度,提高了機床性能。

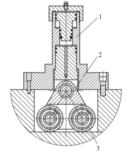
圖1 卸荷梁安裝圖
1.立柱 2.橫梁 3.卸荷梁 4.刀架

圖2 橫梁滑座上油缸及滾輪安裝圖
1.油缸 2.支架 3.滾輪
本結構主要由卸荷梁和橫梁滑座滾輪兩部分組成。卸荷梁通過固定銷軸固定在靠近立柱中心處的橫梁上導軌處(如圖1)。滾輪(如圖2)安裝在橫梁滑座上,中間各有一個調心滾子軸承,通過一個支架連接油缸。刀架和橫梁滑座的大部分重量通過滾輪直接作用在卸荷梁上,卸荷梁在受壓的彎曲過程中,滾輪在油缸內壓力油的作用下,將刀架和橫梁滑座的大部分重量始終作用在卸荷梁上,從而減小了橫梁的彎曲變形量,保證了刀架的水平運行精度。
本技術應用于我公司自主開發研制的CXTK53125型閥體車銑鏜磨復合加工中心項目上。該項目主要針對大型水電閥門閥體的精密加工,應用車、銑、鏜、磨復合加工技術,可在工件一次裝夾后,同時完成對閥體內外圓柱面、內外圓錐面、平面、圓弧面、螺紋、槽進行車削加工及工件圓周的鏜孔、鏜端面、鉆孔、攻絲等鏜銑削加工,對內外圓柱面、平面進行磨削加工,提高了加工效率,降低了因頻繁裝夾產生的實際誤差,保證了工件加工精度。該設備采用懸臂橫梁撓度的靜壓補償,提高了機床的穩定性及可靠性。為解決水電行業對關鍵件閥門閥體——實現復雜平面、曲面、孔、槽等多工序一次性加工,提高生產效率和質量。由于該機床對精度要求較高,且屬于大型特重型機床,保證精度的難度非常大,通過合理的機械結構設計和工藝方法的配合使用,最終使各項精度達到驗收要求,滿足使用要求,使我國自制機床制造水平邁上了一個新的臺階。
懸臂橫梁卸荷技術在重型單柱移動立式車床上的應用,大大改善了傳統單柱立車刀架水平運動過程中精度不穩定問題,提高了車削加工精度,大大提高了大體積復雜工件的加工精度的保持率,減少了廢品損失,節約了制造成本,加快了生產廠家設備購置費的回收速度,經濟效益可觀。
設計過程中,還借助了三維設計軟件和專業的有限元分析軟件,通過傳統設計方法和現代研究方法的有機結合,分析論證了結構的可行性和合理性,合理預見了該結構的技術可行性。經實際生產檢驗,該結構設計的應用情況良好,滿足加工精度要求,提高了產品合格率,值得繼續應用與推廣。