
圖1 撥桿零件簡圖
某公司加工一種撥桿零件,如圖1所示。材質ZG35,大批量生產。該零件外形呈矩形,兩端是半圓,半徑50mm,厚度δ=40mm,一端加工φ(50±0.1)mm通孔,另一端與φ50mm孔相垂直加工一個φ(30±0.1)mm孔,兩孔中心距是(110±0.1)mm,兩孔加工表面粗糙度值Ra=1.6μm,厚度方向兩平面表面粗糙度值Ra=3.2μm。該零件毛坯為精密鑄造,各方向表面較平滑,表面粗糙度值可達到Ra=25μm。該零件加工要保證兩孔公差±0.1mm,兩孔中心距公差±0.1mm,加工表面要保證表面粗糙度要求。加工工序是:(1)加工厚度方向兩平面。(2)加工一個孔。(3)以加工完成的孔為基準加工另一個孔。平面加工要求不高,達到厚度尺寸和表面粗糙度要求即可,孔加工先加工φ30mm孔,以φ30mm孔為基準加工φ50mm孔,采用鉆孔、擴孔和鉸孔方法。為充分發揮設備加工能力,提高加工效率,設計制造夾具,借助夾具功能在一臺車床上完成平面和兩孔加工,本文介紹夾具設計及使用。
車床加工平面效率較高,該零件厚度方向兩平面加工表面粗糙度值Ra=3.2μm,單個零件直接安裝在車床卡盤上,存在頻繁找正、裝夾的麻煩。設計夾具,將夾具固定在卡盤上,一次找正完成,零件安裝在夾具上無需再找正,僅需夾緊即可,零件的加工質量可由夾具控制。
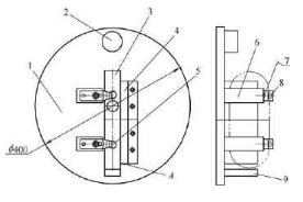
夾具由圓形夾具體1、V形夾塊2、擋板3、夾緊螺釘4、零件5和雙圓柱定位塊6等組成,如圖2所示。夾具體設計為圓形,直徑400mm,便于三爪自定心卡盤裝夾,夾具體表面加工平整,與零件表面構成平面副定位,限制3個自由度,雙圓柱定位塊6與零件一端圓弧構成兩點定位副,限制2個自由度,共限制5個自由度。V形夾塊2、擋板3和夾緊螺釘4等組成夾緊機構,V形塊的V形槽對應零件另一端圓弧,即限制零件一個自由度,又構成夾緊副。
設計要求零件安裝在夾具體上,零件十字中心與夾具體十字中心必須重合,雙圓柱定位塊的質量與夾緊機構的質量應該相等,保證轉動時處于平衡狀態,避免偏重產生慣性力,影響加工質量和損壞刀具。
加工之前,先將夾具體安裝在車床三爪自定心卡盤上,找正平面和中心線,確認無誤,將零件安裝在夾具體上,擰緊夾緊螺釘,開始加工。首件加工完成后,后續加工時夾具體不需要再找正,直接安裝零件夾緊即可。
一般孔加工均采用鉆床,采用車床加工借助夾具可以大大提高加工效率,并保證加工質量。車床加工孔,其原理是將零件待加工孔對應于車床回轉中心,鉆孔刀具安裝在車床尾座上,車床卡盤轉動,帶動零件轉動,尾座上的刀具作軸向往復運動,實現孔的加工。設計夾具,將待加工零件安裝在夾具上,由夾具保證零件與車床的相對位置。
該夾具由圓形夾具體1、配重圓盤2、零件3、平面定位平板4、兩點定位圓臺5、壓板支座6、壓板7、夾緊螺栓8和底部支撐板9等組成,如圖3所示。
零件厚度方向一平面與夾具體上平面定位平板4構成平面定位副,限制3個自由度,兩點定位圓臺5與零件寬度方向一側面構成兩點定位,限制2個自由度,底部支撐板9與零件一端圓弧構成點定位,限制1個自由度,實現6點定位。夾緊機構采用螺紋-壓板夾緊,相距一定距離的2個勾頭壓板安裝在壓板支座上,壓板上加工長孔,壓板可以左右移動,零件安裝上后,壓板向右移動,壓住零件,擰緊螺釘。孔加工完成后,松開螺釘,壓板向左移動,卸下零件。

圖2 零件車加工平面夾具設計簡圖
1.夾具體 2.V形夾塊 3.擋板 4.夾緊螺釘 5.零件 6.雙圓柱定位塊
該孔加工采用鉆孔和鉸孔工步,通過鉸孔保證孔的公差要求。
首件加工,先將零件安裝在夾具體上,然后將夾具體安裝在車床三爪自定心卡盤上,以待加工孔中心為基準進行找正,孔加工后,經檢測無誤,卸下零件,夾具體不動,后續加工僅將零件安裝在夾具體上,壓緊即可,無需再找正。
每個零件加工后,在零件定位平面一側打上標記“A”,為下道工序定位基準。
該夾具由夾具體1、配重圓盤2、點定位圓臺3、零件4、長定位銷6、定位銷支撐座5和鎖緊螺母7等組成,如圖4所示。

圖3 加工φ30mm孔車夾具設計簡圖
1.夾具體 2.配重圓盤 3.零件 4.平面定位平板 5.兩點定位圓臺6.壓板支座 7.壓板 8.夾緊螺母 9.底部支撐板

圖4 加工φ50mm孔車夾具設計簡圖
1.夾具體 2.配重圓板 3.點定位圓臺 4.零件 5.定位銷支撐座6.長定位銷 7.鎖緊螺母
φ50mm孔加工既要考慮孔本身的公差要求,又要考慮與φ30mm孔中心距的公差要求,加工中主要定位基準是已加工的φ30mm孔的內表面,其次定位基準是零件厚度方向的平面A面,采用長圓柱銷和φ30mm孔內表面構成孔-長銷定位副,限制4個自由度,在定位銷根部設計小凸臺,與零件φ30mm孔端部構成小平面定位副,限制1個自由度,零件A面與點定位圓臺3構成點定位副,限制1個自由度,共限制6個自由度。
圓柱銷頭部加工螺紋,與鎖緊螺母組成螺紋夾緊機構,圓柱銷桿部與φ30mm孔內表面配合尺寸采用過渡配合,零件φ30mm孔安裝到長圓柱銷上,鎖緊螺母擰緊,即實現夾緊。
零件安裝后夾具體出現偏重,在其對面設置配重塊,從加工角度出發,圓形零件加工較方便,考慮到平衡調節的靈活性和平衡塊體積不會太大,將平衡塊設計成兩個圓柱體(配重圓板2),其尺寸根據質量分布情況來確定。
加工時先將夾具體安裝在車床三爪自定心卡盤上,找正鎖緊。零件安裝在長圓柱銷上螺母鎖緊。加工工步為鉆孔→擴孔→鉸孔。首件加工完成,檢測無誤。夾具體不需再調整、找正。然后進行后續加工。
矩形零件平面加工采用車床,一般采用四爪卡盤,且找正裝夾較麻煩,借助夾具可以采用三爪自定心卡盤,且找正一次,后續加工無需再找正,節約時間,效率高。采用車床加工孔,零件轉動,鉆頭僅作往復運動,加工效率高,質量穩定。設計夾具,將零件的幾道工序安排在一臺車床上,減少轉序時間,提高加工效率,提高加工質量。